中色股份晚间公告,2025年第二季度新签项目合同数量为5个,合同金额为3.93亿元。在执行未完工项目合同数量为34个,合同金额为349.37亿元。已签约未生效项目合同数量为2个涨上策,合同金额为110.18亿元。已中标未签约项目合同数量为2个涨上策,合同金额为1.33亿元。重大项目方面,印尼阿曼铜冶炼厂项目合同金额为65.61亿元涨上策,已完成工程进度99.61%。印尼阿曼铜选厂扩建项目合同金额为30.75亿元,已完成工程进度71.83%。越南多农电解铝项目合同金额为41.96亿元,项目设计、采购和现场施工准备工作有序进行中。
举报 相关阅读
杠杆资金本周重仓股曝光 长江电力居首杠杆资金本周重仓股曝光 长江电力居首
0 2024-12-01 11:36
汇金科技今日20cm涨停,三机构净卖出1.18亿元汇金科技今日20cm涨停,三机构净卖出1.18亿元
0 2024-11-29 16:27
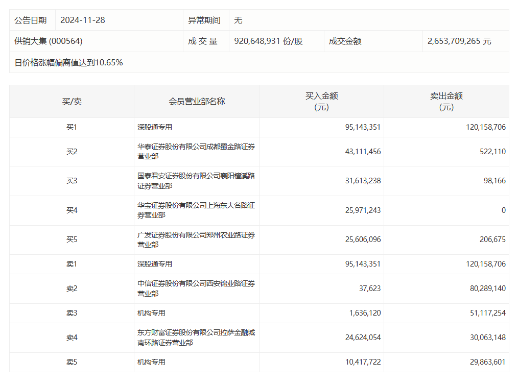
供销大集今日涨停,二机构净卖出6892.70万元供销大集今日涨停,二机构净卖出6892.70万元
0 2024-11-28 16:25
四川九洲今日跌停,二机构净卖出1.48亿元四川九洲今日跌停,二机构净卖出1.48亿元
0 2024-11-26 16:33
和而泰今日跌9.97%涨上策,方新侠席位净卖出1.49亿元和而泰今日跌9.97%,方新侠席位净卖出1.49亿元
0 2024-11-26 16:31 一财最热 点击关闭龙辉配资提示:文章来自网络,不代表本站观点。